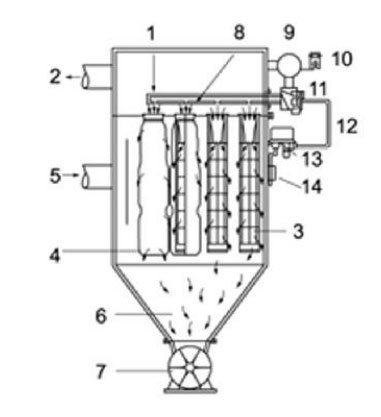
工作原理:
含塵氣體從進氣口進入下箱體后,部分沉降,輕微粉塵浮動時被濾袋阻留。凈化空氣透過濾袋,經文氏管進入箱體,從出氣口排出。隨著積附在濾袋外壁的粉塵不斷增加,為了使設備阻力維持在限定(一般為100-150毫米水柱)的范圍內,必須定時清除積附在濾袋外壁的粉塵,清灰是由控制儀順序觸發各控制閥,開啟脈沖閥,使氣包內的壓縮空氣由噴吹管噴出(一次風)通過文氏管誘導數倍于一次風的周圍空氣(二次風)進入濾袋,使濾袋瞬間急劇膨脹并伴隨著氣流的反作用,被抖落在粉塵落入灰門經排灰閥排出機體。
用途與特點:
我公司生產的BLM型脈沖布袋除塵器是凈化含塵氣體的新型設備。它采用了適用于較高溫度的“208”工業滌綸絨布作濾袋,凈化效果可高達99.5%。該設備具有結構緊湊、占地面積小、濾袋壽命長,運行穩定可靠,維護保養方便等優點,處理含塵熱能氣體溫度可高達120oC以上。廣泛應用于冶金、鑄造、礦山、醫藥、飼料、建材、糧食加工等行業的通風除塵和粉塵回收。
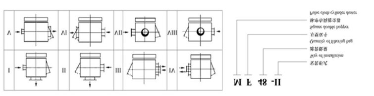
裝配形式:

結構示意圖:





系列尺寸表:
| 型號名稱 | MC-48 | MC-60 | MC-84 | MC-108 | MC-120 | MC-156 | MC-216 | MC-312 | |
| 濾袋數量(條) | 48 | 60 | 84 | 108 | 120 | 156 | 216 | 312 | |
| 過濾面積(m2) | 36 | 45 | 63 | 81 | 90 | 117 | 162 | 234 | |
| 脈沖閥數量(個) | 8 | 10 | 14 | 18 | 20 | 26 | 20 | 39 | |
| 處理風量(m3/h) | 4320-8630 | 5400-10800 | 7550-15100 | 97200-19440 | 10800-21600 | 14040-28080 | 20400-40800 | 14040-28080 | |
| 噴吹耗氣量(m3/min) | 0.2-0.7 | 0.2-0.8 | 0.3-1.2 | 0.3-1.5 | 0.3-1.7 | 0.5-2.2 | 0.6-3.3 | 0.5-2.2 | |
| 外形尺寸 | I型mm | 1800x1800x3950 | 2200x1800x3950 | 3000x1800x3950 | 3800x1800x3950 | 4200x1800x3950 | 5400x1800x3980 | 6200x1800x3980 | 7400x1800x3950 |
| II型mm | 1800x1800x3415 | 2200x1800x3415 | 3000x1800x3415 | 3800x1800x3415 | 4200x1800x3415 | 5400x1800x3415 | 6200x1800x3415 | 7400x1800x3415 | |
常州市佳一干燥設備有限公司是一家專業的直線振動流化床干燥機,快速旋轉閃蒸干燥機,隧道式熱風循環烘箱,臥式燃氣熱風爐,臥式高效螺帶混合機等干燥設備生產廠家,需要直線振動流化床干燥機,快速旋轉閃蒸干燥機,隧道式熱風循環烘箱,臥式燃氣熱風爐,臥式高效螺帶混合機等此類干燥設備歡迎聯系我們常州佳一干燥.

